With over 300 years of engineering experience, Savery designs and manufactures high-quality hydraulic systems tailored to your needs. If you're interested in this product, fill in our contact form, and our team will be in touch.
Contact usPE16-S67H Proportional, Pilot Operated (PE16-S67H)
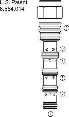
A screw-in, cartridge-style, proportional, spring-centered, pilot-operated spool-type hydraulic directional valve.
Product Operation
When the PE16-S67H is in neutral position port ➂ is blocked and ports ➁, ➃ and ➄ are in communication with each other. When the remote pilot signal at ➀ exceeds the force of the bias spring, the spool shifts proportionally to the applied pilot pressure
to allow flow from ➂ to ➃, through a load such as a hydraulic cylinder or motor, and from ➁ to ➄ and to tank. On remote pilot signal at ➅, the spool shifts proportionally to the applied pressure in the opposite direction, thus reversing the flow direction. The
valve’s spool is symmetrical, providing meter-in and meter-out control.
Product Features
• Hardened spool and cage for long life.
• Cost-effective cavity.
• Excellent metering characteristics.
• Good linearity.
Product Ratings
Maximum Operating Pressure: Port ➂: 345 bar (5000 psi) Ports ➁ and ➃: 240 bar (3500 psi) Ports ➀ and ➅: 27.6 bar (400 psi)
Orifi ce Diameter: Between ports ➁ and ➃ and port ➄ in neutral position: 0.030 in.
Flow: See Performance Chart
Internal Leakage: 590 ml/minute (36 cu. in./minute) at 207 bar (3000 psi)
Temperature: -40 to 120°C with standard Buna N seals
Filtration: See page 9.010.1
Fluids: Mineral-based or synthetics with lubricating properties at viscosities of 7.4 to 420 cSt (50 to 2000 sus); See Temperature and Oil Viscosity, page 9.060.1
Installation: No restrictions; See page 9.020.1
Cavity: VC16-S6; See page 9.116.1
Cavity Tool: CT16-S6; See page 8.600.1
Seal Kit: SK16-S6P-BMMMM; See page 8.650.1




















